Klárafalva Községi Önkormányzat Képviselő-testületének 9/2019 (XI.15.) önkormányzati rendelete
az önkormányzat Szervezeti és Működési Szabályzatáról
Hatályos: 2022. 03. 24- 2022. 10. 21Klárafalva Községi Önkormányzat Képviselő-testületének 9/2019 (XI.15.) önkormányzati rendelete
az önkormányzat Szervezeti és Működési Szabályzatáról
Klárafalva Község Önkormányzat Képviselő-testülete (a továbbiakban: Képviselő-testület) az Alaptörvény 32. cikk (2) bekezdésében meghatározott eredeti jogalkotói hatáskörben, az Alaptörvény 32. cikk (1) bekezdés d) pontjában meghatározott feladatkörben eljárva a következőket rendeli el:
Általános rendelkezések
1. § (1) Az önkormányzat megnevezése: Klárafalva Község Önkormányzata.
(2)1 Az önkormányzat székhelye, pontos címe: 6773 Klárafalva, Kossuth utca 171.
(3) Az önkormányzati jogok gyakorlására feljogosított szervezet: Klárafalva Községi Önkormányzat Képviselő-testülete.
(4) Az önkormányzat működési területe: Klárafalva Község közigazgatási területe.
(5) A Képviselő-testület szervei: a polgármester, a képviselő-testület Ügyrendi Bizottsága, a Kübekházi Közös Önkormányzati Hivatal, a jegyző, Szegedi Kistérség Többcélú Társulása, a Makói Kistérség Többcélú Társulása, Makó és Térsége Ivóvízminőség-javító Önkormányzati Társulás, és Dél-alföldi Térségi Hulladékgazdálkodási Társulás.
2. § (1) Az önkormányzat jelképei: címeres zászló és pecsét. Az önkormányzat jelképeit és azok használatának rendjét a Képviselő-testület külön rendeletben állapítja meg.
(2) Az önkormányzat Képviselő-testülete a helyi kitüntetések és elismerő címek alapítására és adományozására külön rendeletet alkot.
(3) Az önkormányzat pecsétje kör alakú, benne kör felirat „Klárafalva Községi Önkormányzat”, középen Magyarország címerével.
(4) Az önkormányzat pecsétjét kell használni:
a) a képviselő-testületi ülések jegyzőkönyvének lezárására
b) a képviselő-testület által adományozott okleveleken
c) az önkormányzat hazai és nemzetközi kapcsolatait tükröző és rögzítő dokumentumokon
d) az önkormányzat által kötött szerződéseken, megállapodásokon.
Az önkormányzat feladata, hatásköre, szervei
3. § (1) A Képviselő-testület a hatásköreit meghatározott esetekben a polgármesterre, állandó bizottságára, jegyzőre és társulásra ruházhatja át.
(2) Az átruházás elvei: azon ügyekben, amelyek kollektív döntést igényelnek, az átruházás csak a bizottságra történhet, amelyek pedig operatív jellegűek, azokat a hatékony és gyors döntések meghozatala érdekében a polgármesterre ruházza. Amennyiben a Képviselő-testület szükségesnek tartja, úgy a hatáskör átruházásakor vagy képviselő-testületi normatív határozat formájában bármikor a hatáskör gyakorlójának utasítást fogalmazhat meg, melynek végrehajtására és beszámolására határidőt állapíthat meg.
(3) A képviselő-testület által a polgármesterre átruházott hatásköreit a rendelet 1. melléklete tartalmazza
4. §2 (1) Az önkormányzat által ellátott közfeladatokat, szakmai alaptevékenységeket a rendelet 2. sz. melléklete tartalmazza a kormányzati funkciók, államháztartási szakfeladatok és szakágazatok osztályozási rendjéről szóló 15/2019. (XII.7.) PM rendelet szerint kormányzati funkciókba - funkciószámmal és - megnevezéssel – besorolva, kivéve ezek közül a támogatási célok kormányzati funkcióit, a technikai funkciókat.
(2) A rendelet 2. sz. mellékletében meghatározott feladatok közül az önkormányzat maga határozza meg – a lakosság igényei alapján, az önkormányzat anyagi lehetőségeitől függően – mely feladatokat, milyen mértékben és módon lát el.
(3) Az önkormányzat által ellátott további közfeladatait, szakmai alaptevékenységeket társulás, feladatellátási szerződés és megállapodás keretében látja el.
5. § (1) Amennyiben a Képviselő-testület helyi közügy önálló megoldásának ellátását vállalja, előkészítő eljárást kell lefolytatni. Az előkészítő eljárásban tisztázni kell a feladat ellátásának anyagi, személyi és technikai feltételeit. Az eljárást a testület döntésétől függően a polgármester, a képviselő-testület Ügyrendi bizottsága, vagy e célra létrehozott külön bizottság folytatja le.
(2) A képviselő-testület elé kerülő előterjesztésnek tartalmaznia kell a feladat elvállalásával elérendő célt és a megoldásnak az (1) bekezdésben említett részletes feltételeit.
6. § Az önkormányzat a feladatai körében támogatja a civil szervezetek bírósági nyilvántartásáról és az ezzel összefüggő eljárási szabályokról szóló 2011. évi CLXXXI. törvény szerint nyilvántartásba vett klárafalvi székhelyű önszerveződő közösségek tevékenységét, együttműködik e közösségekkel.
A képviselő-testület működése
7. § A képviselő-testület tagjainak száma: 5 fő, 4 fő képviselő és a polgármester. A képviselők névsorát az SZMSZ 1. függeléke tartalmazza.
8. § (1) A települési képviselő köteles tevékenyen részt venni a képviselő-testület munkájában. Ennek keretében köteles olyan magatartást tanúsítani, amely méltóvá teszi a közéleti tevékenységre, a választók bizalmára. Felkérésre köteles részt venni a testületi ülések előkészítésében, a képviselő-testület által elrendelt vizsgálatokban.
(2) Amennyiben akadályoztatása miatt nem tud részt venni a képviselő-testület vagy bizottsága ülésén úgy köteles azt írásban, vagy amennyiben ez nem lehetséges, az azt megelőző napon írásban vagy szóban ( távbeszélőn is ) jelezni.
(3) Amennyiben a képviselő távolmaradását csak az ülés napján jelenti be, vagy nem jelenti be és hiányzásának nincs menthető indoka úgy távolmaradását igazolatlannak kell tekinteni.
(4) Amennyiben az önkormányzati képviselő – a Magyarország helyi önkormányzatairól szóló 2011. évi CLXXXIX. törvény (továbbiakban Mötv.) 49. § (1) bekezdésében meghatározott – személyes érintettségét nem jelenti be, a képviselő-testület a mulasztás tudomására jutását követő ülésén felülvizsgálja döntését, továbbá ezzel egyidejűleg – amennyiben kár keletkezett – az okozott kár megtérítése iránt igényt támaszthat.
Kérdés, interpelláció
9. § (1) A települési képviselőt megilleti a kérdezés, illetve az interpellálás joga, amelyet a napirend tárgyalásának befejezését követően szóban vagy írásban gyakorolhat. A kérdést, illetve interpellációt írásban az ülés előtt is be lehet nyújtani a polgármesternek címezve. Amennyiben a benyújtásra az ülés előtt 2 nappal korábban kerül sor, úgy arra a soron következő ülésen érdemben válaszolni kell.
(2) A kérdezés a képviselő-testületi hatáskörbe tartozó szervezetre, működésre, döntésre, előkészítésre vonatkozó tudakozódás. Az interpelláció olyan felszólalás, melynek tárgya szoros kapcsolatban kell, hogy álljon az önkormányzat hatáskörének ellátásával, illetőleg annak valamely- az önkormányzat irányítása alá tartozó- szervezet hatáskörébe kell tartoznia.
(3) Az interpelláció és a kérdés csak testületi ülésen ismertethető. A polgármester az ülés kezdetekor tájékoztatást ad a képviselőknek a beérkezett kérdésekről.
(4) A kérdés feltevésére és megválaszolására rendelkezésre álló időtartamot a képviselő-testület esetenként meghatározhatja.
(5) Az interpellációra a kérdezett az ülésen szóban, vagy a képviselő-testület hozzájárulásával legkésőbb 15 napon belül írásban köteles választ adni. Az írásban küldött választ a Képviselő-testület soron következő ülésén ismertetni kell.
(6) Az interpellációra adott válasz elfogadásáról az interpelláló nyilatkozik, és külön dönt a testület is. A kérdésre adott válasz elfogadásáról a testület nem dönt.
A képviselő-testület ülései
10. § (1) A képviselő-testület üléseit szükség szerint, de évente legalább kilenc ülést tart. Július és augusztus hónapokban nem tart ülést, azonban annak szükségessége esetén ettől eltérhet. A képviselő-testület ülésére a polgármester a napirendek és azok előadói megjelölésével az ülés napját megelőzően legalább 5 nappal írásos meghívót küld.
(2) A képviselő-testület rendkívüli ülést tarthat amennyiben a polgármester megítélése szerint olyan jelegű kérdésben kell állást foglalni, melyben a késlekedés az önkormányzatot hátrányos helyzetbe hozná. A rendkívüli ülésre írásos meghívót küldeni nem kell, de a Közös Önkormányzati Hivatal hirdetőtábláján a lakosságot tájékoztatni kell az ülés helyéről és idejéről.
(3) Rendkívüli ülés tartása esetén lehetőség van a képviselők összehívására:
a) elektronikus úton küldött üzenettel,
b) telefonon keresztül történő szóbeli meghívással,
c) egyéb szóbeli meghívással.
Amennyiben az ülést ezen módok valamelyike alapján hívták össze, úgy ennek tényét a jegyzőkönyv elején rögzíteni kell. A szóbeli meghívás esetében lehetőség szerint biztosítani kell az előterjesztések meghívottakhoz történő eljuttatatását, illetve az ülésen történő megismerésüket.
(4) Az ülések helye: Klárafalva, Közös Önkormányzati Hivatal ülésterem, azonban a polgármester döntése alapján – amennyiben valamilyen kényszerítő körülmény ezt szükségessé teszi – lehetséges ettől eltérő helyszínen való ülésezés. Ennek tényét az írásos meghívóban közölni kell.
(5) A képviselő-testület esetenként a polgármester döntése alapján kihelyezett ülést is tarthat, amelynek helyét a meghívóban közölni kell.
(6) A közmeghallgatás idejéről, helyéről, napirendjéről a lakosságot a Közös Önkormányzati Hivatal hirdetőtábláján elhelyezett, illetve az önkormányzat honlapján közzétett meghívó útján legalább 8 nappal előtte tájékoztatni kell. Erről a polgármester gondoskodik.
Az ülések nyilvánossága
11. § (1) A képviselő-testület ülése nyilvános, azon bármely állampolgár részt vehet. Az ülés nyilvánossága a meghívónak az ülést megelőzően legalább 5 nappal a Közös Önkormányzati Hivatal hirdetőtábláján történő megjelentetésével biztosított.
(2) A Magyarország helyi önkormányzatairól szóló 2011. évi CLXXXIX. törvény 46. § (2) bekezdés c) pontjában meghatározott esetben az üzleti érdek sérelmének megvalósulását abban az esetben kell vélelmezni, ha a tárgyalandó ügy kapcsán harmadik személy érdekkörébe tartozó olyan adat nyilvánosságra kerülése vélelmezhető, melynek kapcsán a harmadik személynek erkölcsi vagy anyagi kára keletkezhet.
Munkaterv
12. § (1) A képviselő-testület éves munkaterv alapján működik.
(2) A munkaterv tervezetét minden év január 31-ig a polgármester terjeszti elő.
(3) A munkaterv tartalmazza:
a) az ülések időpontját,
b) az adott ülésen tárgyalandó témákat,
c) az előterjesztő megnevezését,
Meghívó, meghívottak
13. § (1) A képviselő-testület rendes ülésének összehívása írásos meghívó kiküldésével történik.
(2) A meghívónak tartalmaznia kell:
a) az ülés helyét,
b) az ülés időpontját,
c) a tervezett napirendeket,
d) a napirendek előadóit,
e) a képviselő-testület ülése összehívójának megnevezését.
(3) A meghívót és lehetőség szerint az előterjesztéseket a képviselőknek a képviselő-testületi ülés időpontja előtt 5 nappal ki kell küldeni. Az előterjesztéseket amennyiben indokolt, a képviselő-testületi ülésen is ki lehet osztani. Ebben az esetben az ülés vezetőjének lehetőséget kell biztosítani az anyag áttanulmányozására.
14. § (1) Tanácskozási joggal kell meghívni
a) a napirend tárgya szerint illetékes szerv vezetőjét,
b) a jegyzőt, aljegyzőt,
c) a Közös Önkormányzati Hivatal, jegyző által nevesített, a tárgyalt napirendi ponthoz kapcsolódó munkatársait.
d) akiket az ülés összehívója megjelöl.
(2) Meghívót kell küldeni tanácskozási jog biztosítása nélkül: - akiket az ülés összehívója megjelöl.
Előterjesztés
15. § (1) Előterjesztésnek minősül mindazon a képviselő-testület részére benyújtott anyag, melyben a képviselő-testület döntése szükséges.
(2) Tájékoztatónak minősül: minden olyan a képviselő-testület részére benyújtott írásos anyag, melyben nem szükséges képviselő-testületi döntés és melynek célja a testület tájékoztatása egy kérdésről vagy területről. Előterjesztést nyújthat be a képviselő-testülethez:
a) polgármester
b) települési képviselő
c) jegyző, aljegyző,
d) bizottság
e) bárki, ha az ügyben történő döntés a képviselő-testület hatáskörébe tartozik.
(3) Az előterjesztést akkor kell benyújtani a képviselő-testületnek döntésre, ha az abban megfogalmazottakból világosan és egyértelműen kitűnik, hogy a beterjesztője mit akar, alkalmas a megfelelő következtetések levonására, a döntés meghozatalára. Az előterjesztés döntésre történő beterjesztését minden esetben meg kell, hogy előzze a jegyző törvényességi véleményének kialakítása.
(4) Az előterjesztést elsősorban írásban kell az ülést megelőzően legalább 15 nappal a polgármesternek címezve benyújtani. Kivételes esetben lehetőség van szóbeli előterjesztésre is. Az ülés napján, illetve az ülésen a képviselők rendelkezésére bocsátott írásos előterjesztést szóbeli előterjesztésként kell kezelni.
(5) Írásos előterjesztés nélkül nem tárgyalhatóak az alábbi ügyek:
a) költségvetést érintő előterjesztés
b) önkormányzati rendelettervezet
c) intézményalapítás, átszervezés, megszüntetés
d) helyi népszavazás kiírása
e) munkaterv
f) valamennyi hatósági döntést igénylő ügy
g) szolgáltatási díjakat érintő előterjesztések
A képviselő-testületi ülések összehívása
16. §3 (1) A képviselő-testület ülését a polgármester hívja össze és vezeti.
(2) A polgármester távolléte, akadályoztatása esetében az alpolgármester gondoskodik a képviselő-testület összehívásáról, és a polgármester távollétében vezeti az ülést.
(3) A polgármesteri és az alpolgármesteri tisztség egyidejű betöltetlensége, illetve a polgármester és az alpolgármester tartós akadályoztatása esetében az Ügyrendi Bizottság elnöke hívja össze a képviselő-testületet és vezeti a képviselő-testület ülését.
(4) A képviselő-testület akkor határozatképes, ha az ülésen az önkormányzati képviselőknek több mint a fele jelen van. A határozatképességet a Képviselő-testület ülésének megnyitásakor, majd az ülés során folyamatosan figyelemmel kell kísérni.
(5) Amennyiben az ülés összehívását a települési képviselők egynegyede, vagy a bizottság indítványozza, a kezdeményezők az ülés megtartására irányuló kérelmükben meg kell határozniuk az összehívás indokát.
Hozzászólási jog
17. § (1) A képviselő-testület egyedi döntéssel – egyszerű szótöbbséggel – hozzászólási jogot adhat a képviselő-testület ülésén megjelent személynek. A döntésében meghatározhatja a hozzászólás maximális időtartamát. Hozzászólási jog nem adható azokban az esetekben, melyeknél zárt ülés rendelhető el.
(2) A hozzászólási jog feltétele, hogy az érintett személy a hozzászólási jog megadása előtt a képviselő-testület ülését viselkedésével ne zavarja. A hozzászólási jog megvonható, ha az érintett személy nem tartja be a számára megadott időkeretet.
Napirendi javaslat előterjesztése és elfogadtatása
18. § (1) A polgármester előterjeszti a meghívóval azonosan a napirendi pontokat. A polgármester és a képviselők javaslatot tehetnek a napirendi pontok felcserélésére, javasolt napirendi pontok törlésére.
(2) A polgármester és a képviselők írásban benyújtott anyaggal vagy szóban ismertetve indítványozhatják egyéb kérdések megvitatását, napirendre vételét is rövid indoklással. Az indítványt a polgármesterhez kell az ülés előtt benyújtani, illetve szóban a napirendi tervezet ismertetését követően előadni. A javasolt napirendi pontot a meghívóban szereplő napirendek után kell felvenni, ettől a képviselő-testület célszerűségi okokból eltérhet. Az indítványról – mely tartalmazza a napirendben elfoglalt helyét is- a képviselők egyszerű többséggel döntenek.
(3) A napirend elfogadásáról a testület vita nélkül, egyszerű szótöbbséggel dönt.
Napirendek tárgyalása – vitától a döntéshozatalig
19. § (1) A napirendi pont tárgyalását szóbeli kiegészítés előzheti meg.
(2) A szóbeli kiegészítés nem ismételheti meg az írásbeli előterjesztést, ahhoz képest új információkat kell tartalmaznia.
(3) A napirendi ponttal kapcsolatban az előterjesztőhöz a képviselők és a meghívottak kérdést intézhetnek.
(4) A napirendi pont vitáját az előterjesztő foglalja össze, egyúttal reagál az elhangzott észrevételekre.
(5) Az ülésvezető a vita lezárása után elsőként a módosító, kiegészítő majd az eredeti javaslatot teszi fel szavazásra.
(6) A szavazás előtt a jegyzőnek szót kell adni, amennyiben ő bármely javaslat törvényességét illetően, vagy az önkormányzat működésével összefüggésben észrevételt kíván tenni.
(7) A szavazás eredményének megállapítása után a polgármester kihirdeti a határozatot.
A tanácskozás rendjének fenntartása
20. § A képviselő-testület ülésének vezetése során a tanácskozás rendjének fenntartása a polgármester feladata. Ennek során:
a) figyelmeztetheti azt a hozzászólót, akinek a tanácskozáshoz nem illő, másokat sértő a megfogalmazása
b) rendreutasíthatja azt, aki a képviselő-testülethez méltatlan magatartást tanúsít.
Szavazatok, szavazások
21. § (1) A képviselők a szavazásban igenlő, vagy ellenszavazattal vesznek részt, illetőleg tartózkodnak.
(2) A szavazás kézfelemeléssel történik, a számszaki eredményt az ülés vezetője hangosan ismerteti.
(3) Minősített többség, azaz a megválasztott képviselők több mint felének (legalább 3 képviselő) egybehangzó szavazata szükséges a helyi közügy önálló megoldásának vállalásához, illetőleg erről történő lemondáshoz, illetve a helyi népszavazásra irányuló kezdeményezésről való döntés, népi kezdeményezés tárgyalásához.
Név szerinti szavazás
22. § (1) A képviselő-testület a polgármester, vagy a jelenlévő legalább egy képviselő indítványára névszerinti szavazást tart.
(2) Név szerinti szavazás esetén a jegyző ABC sorrendben felolvassa képviselők nevét akik „igen”, „nem”, „tartózkodom” nyilatkozattal szavaznak. A jegyző a szavazást a névsoron feltünteti, a szavazatokat összeszámlálja és az eredményről az ülés vezetőjét tájékoztatja. A szavazás eredményét az ülés vezetője állapítja meg.
(3) Személyi és ügyrendi kérdésben név szerinti szavazás nem tartható.
Titkos szavazás
23. § (1) A titkos szavazásról a képviselő-testület esetenként, egyszerű többséggel dönt.
(2) A titkos szavazást az Ügyrendi Bizottság jelenlévő képviselő tagjai bonyolítják le.
(3) A titkos szavazás eredményéről a bizottság külön jegyzőkönyvet készít. Ezt a jegyzőkönyvet csatolni kell a képviselő-testületi ülés jegyzőkönyvéhez. A jegyzőkönyv tartalmazza a szavazásra jogosultak és a ténylegesen szavazók számát, az érvényes és érvénytelen szavazatok számát, valamint a megállapított eredményt.
(4) A jegyzőkönyvet az Ügyrendi Bizottság tagjai aláírják.
(5) A szavazás eredményét az Ügyrendi Bizottság elnöke ismerteti a képviselő-testület tagjaival.
Önkormányzati rendeletalkotás
24. § (1) Rendelet alkotását kezdeményezheti:
a) polgármester
b) képviselő,
c) civil szervezetek képviselője
d) képviselő-testület bizottsága
e) jegyző, aljegyző.
(2) Az (1) bekezdésben foglaltak a kezdeményezést a polgármesternél nyújthatják be írásban. A kezdeményezést, majd a rendelettervezetet – amennyiben tárgyalásra alkalmas módon nyújtották be – a polgármester köteles a soron következő ülés napirendi javaslatába felvenni.
(3) Amennyiben a rendelettervezet részletes előkészítése szükséges, az ülésvezető indítványozza, hogy a képviselő-testület foglaljon állást a rendeletalkotás szükségességéről, az előkészítés menetéről és felelőséről.
(4) Az elkészült, de még el nem fogadott rendelet-tervezeteket amennyiben az állampolgárok széles körét érinti, amennyiben erre a határidők lehetőséget adnak, közszemlére kell tenni 30 napra a Közös Önkormányzati Hivatal hirdetőtábláján. A közszemlére tételt a polgármester rendelheti el. A közszemlére tett rendelet-tervezettel kapcsolatban az érdekeltek írásban kifogást emelhetnek, javaslatot, észrevételt tehetnek. A megtett észrevételek tárgyában a képviselő-testület dönt.
(5) A rendeletek hatályosulását a jegyző évente köteles vizsgálni és az erről szóló jelentést a képviselő-testület elé terjeszteni.
25. § (1) Az önkormányzati rendeletet a Közös Önkormányzati Hivatal hirdetőtáblájára történő kihelyezéssel ki kell hirdetni.
(2) A képviselő-testület által hozott rendeletekről hatálybelépésüket követően a lakosságnak tájékoztatást kell adni az önkormányzat honlapján történő megjelentetéssel.
(3) A képviselő-testület rendeleteinek nyilvántartásáról a jegyző gondoskodik.
26. § (1) A képviselő-testület által hozott határozatok:
a) normatív határozatok
b) egyedi határozatok
(2) A képviselő-testület számozott határozata tartalmazza a testület döntését szó szerinti megfogalmazásban, a végrehajtás határidejét és a végrehajtásért felelős személy megnevezését.
(3) A normatív határozatot a Közös Önkormányzati Hivatal hirdetőtáblájára történő kihelyezéssel ki kell hirdetni.
A jegyzőkönyv
27. § (1) A jegyzőkönyv az Mötv. 52. § (1) bekezdésén túl az alábbiakat tartalmazza:
a) a távol maradt képviselők nevét, a távollét okát,
b) az elhangzott bejelentéseket, kérdéseket és interpellációkat, az azokkal kapcsolatos válaszokat és határozatokat,
c) a képviselő kérésére véleményének rögzítését.
(2) A polgármester, illetve a képviselő-testület bármely tagjának indítványára a jegyző köteles az általuk elmondottakat szó szerint jegyzőkönyvbe vetetni.
(3) A jegyzőkönyvhöz csatolni kell:
a) a meghívót,
b) a jelenléti ívet,
c) az írásos előterjesztéseket,
d) a rendelet valamit a határozattervezetek egy-egy példányát.
(4) A képviselő-testület üléséről hangfelvétel is készül.
(5) A hangszalagról nem készíthető másolat, de a képviselő kérheti hozzászólásának szó szerinti leírását.
(6) A választópolgárok – a zárt ülés kivételével – a képviselő-testület ülésének jegyzőkönyvébe a Közös Önkormányzati Hivatalban a jegyző irodájában, hivatali dolgozó jelenlétében, hivatali időben betekinthetnek.
(7) Zárt ülésről készített jegyzőkönyvbe az érintetteken kívül más nem tekinthet be. Az érintettek is kizárólag a jegyzőkönyv őket közvetlenül érintő részébe kaphatnak betekintési jogot.
(8) A képviselő-testület jegyzőkönyveinek naptári évenkénti beköttetéséről a jegyző gondoskodik.
(9) A jegyzőkönyvekről, annak egy részéről illetve más önkormányzati dokumentumokról térítés ellenében az állampolgárok másolat kérhetnek. A másolat készítés térítési díja: 10 Ft + áfa/lap.
Helyi népszavazás
28. § (1) A helyi népszavazást a polgármesternél kezdeményezheti a helyi önkormányzati választáson választójogosultsággal rendelkező választópolgárok legalább 25%-a.
(2) A polgármester köteles meghívni tanácskozási joggal a helyi népszavazás kiírását tárgyaló képviselő-testületi ülésre az aláírást gyűjtők képviselőjét.
Lakossági fórumok
29. § (1) A polgármester előre meghatározott közérdekű tárgykörben, illetőleg a jelentősebb döntések sokoldalú előkészítése érdekében, az állampolgárok és a társadalmi szerveződések közvetlen tájékoztatása céljából falugyűlést hívhat össze. A falugyűlésen a lakosság a községet érintő fontosabb kérdésekről kap tájékoztatást. Ugyanekkor az állampolgárok közérdekű javaslatot, bejelentést tehetnek, illetve véleményt nyilváníthatnak a számukra jelentős ügyekben.
(2) A gyűlés helyéről, idejéről, az esetleges ismertetésre, vagy tárgyalásra kerülő tárgykörökről a Közös Önkormányzati Hivatal hirdetőtábláján, illetőleg az önkormányzat honlapján kell tájékoztatást adni a rendezvény előtt legalább 8 nappal.
(3) A gyűlést a polgármester vezeti, erre meg kell hívni a képviselőket, a jegyzőt.
(4) A gyűlésről jegyzőkönyv készül, melynek vezetéséről a jegyző gondoskodik.
(5) Falugyűlést szükség szerint, de évente legalább egy alkalommal kell tartani. Ha ennek feltételei fennállnak, a falugyűlés összekapcsolható a közmeghallgatással.
30. § (1) A képviselő-testület az éves, legalább évi egy alkalommal megrendezésre kerülő közmeghallgatást az alábbi, önkormányzati döntések előtt tartja meg:
a) helyi adó bevezetése vagy,
b) nagyobb arányú területrendezéssel kapcsolatos döntés vagy,
c) jelentősebb fejlesztéshez kapcsolódó döntés vagy
d) a polgármester által meghatározott egyéb, a lakosság túlnyomó részét érintő döntések.
(2) A közmeghallgatás idejéről, helyéről, napirendjéről és az ülésen megválaszolásra kerülő kérdések feltevésének lehetőségéről a lakosságot a Közös Önkormányzati Hivatal hirdetőtábláján, illetőleg az önkormányzat honlapján elhelyezett meghívó útján, legalább 8 nappal előtte, gyűjtőláda egyidejű kihelyezésével tájékoztatni kell. A meghívó közzétételéről a polgármester gondoskodik.
(3) A lakosság a Közös Önkormányzati Hivatal épületében kihelyezett gyűjtőládába adhatja le kérdéseit.
A polgármester, az alpolgármester, a jegyző és aljegyző
A polgármester
31. § (1) A főállású polgármester minden héten, szerdán 8.00 -14. 00-ig tart fogadóórát a Közös Önkormányzati Hivatalban.
(2) A polgármester feladat- és hatáskörei jegyzékét a Belügyminisztérium honlapján aktualizált formában közzétett Hatásköri Jegyzék tartalmazza.
(3) A polgármester feladata a Közös Önkormányzati Hivatal működésével kapcsolatban
a) szükség szerint a Közös Önkormányzati Hivatal köztisztviselői részére tartott munkaértekezleten ismerteti az adott időszakban tárgyalt fontosabb ügyeket, az időszerű feladatokat,
b) beszámoltatja a jegyzőt.
Az alpolgármester
32. § (1) A Képviselő-testület egy társadalmi megbízatású alpolgármestert választ.
(2) Az alpolgármester minden héten hétfőn 15.00- 16.00-ig tart fogadóórát.
A jegyző
33. § (1) A jegyző feladat- és hatáskörei jegyzékét a Belügyminisztérium honlapján aktualizált formában közzétett Hatásköri Jegyzék tartalmazza. A jegyző Mötv. 81. § (3) bekezdésben felsoroltakon kívüli kiemelt feladatai
a) tájékoztatást nyújt a képviselő-testületnek a hatáskörét érintő jogszabályokról,
b) gondoskodik a hivatali dolgozók továbbképzéséről,
c) biztosítja az önkormányzati rendeletek, a határozatok érintettekkel való megismertetését.
(2) A jegyző távolléte, vagy akadályoztatása esetén helyettesítését az aljegyző látja el. A jegyzői és az aljegyzői tisztség egyidejű betöltetlensége, illetve tartós akadályoztatásuk esetére - legfeljebb hat hónap időtartamra – a jegyzői feladatokat a hivatal vezetése tekintetében a Közös Önkormányzati Hivatal képesítési és alkalmazási feltételeknek megfelelő, a polgármester által megbízott köztisztviselője látja el.
(3) A jegyző a hatáskörébe tartozó ügyekben a kiadmányozás rendjét külön szabályzatban határozza meg.
(4) A jegyző fogadónapja: minden hétfőn: 8. 00 - 10. 00 óráig tart.
(5) Az aljegyző kinevezése és feladatai tekintetében az Mötv. 82. §-a irányadó.
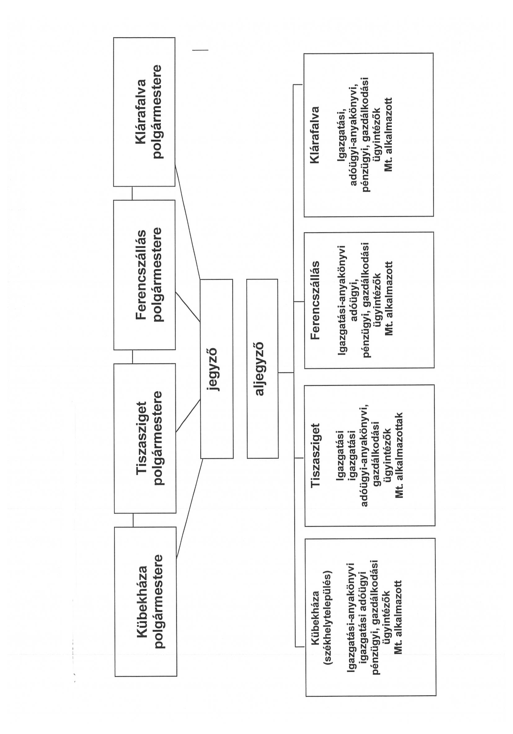
Kübekházi Közös Önkormányzati Hivatal
34. § (1) A Képviselő-testület Kübekháza, Ferencszállás és Klárafalva Községi Önkormányzat Képviselő-testületével az igazgatási feladatainak ellátására a Kübekházi Közös Önkormányzati Hivatalt alapította és tartja fenn. A Kübekházi Közös Önkormányzati Hivatal Szervezeti és Működési Szabályzatát a rendelet 2. függeléke tartalmazza.
(2) A Közös Önkormányzati Hivatal működése érdekében a Közös Önkormányzati Hivatalhoz tartozó települések együttes képviselőtestületi ülését kell összehívni a Közös Önkormányzati Hivatal által érintett önkormányzatok polgármestereinek napirend megjelöléssel történő kezdeményezése esetén.
A képviselő-testület bizottsága
35. § (1) A képviselő-testület – meghatározott önkormányzati feladatok ellátására – állandó, vagy ideiglenes bizottságokat választ.
(2) A képviselő-testület a következő bizottságot hozza létre: Ügyrendi Bizottság 3 fővel (összetétele: három fő települési képviselő). A bizottság tagjainak névsorát a rendelet 3. függeléke tartalmazza.
36. § (1) A bizottság a belső működési szabályait – a Magyarország helyi önkormányzatairól szóló 2011. évi CLXXXIX. Törvény és az SZMSZ keretei között – maga állapítja meg.
(2) A képviselő-testület indokolt esetben, meghatározott feladat ellátására – ideiglenes bizottságot hozhat létre. Az ideiglenes bizottság megbízatása feladatának elvégzéséig, illetőleg az erről szóló jelentésnek a képviselő-testület által történő elfogadásáig tart
(3) A bizottság a működés folyamatosságának biztosítása érdekében elnökhelyettest választ tagjai közül.
(4) Ha a bizottság tagja a bizottság üléséről indokolatlanul, sorozatosan távol marad, úgy a bizottság javaslatára a Képviselő-testület dönt a bizottsági tagság megszüntetéséről.
(5) A bizottság ülését az elnök hívja össze és vezeti. A bizottság ülésén tanácskozási joggal vesz részt a jegyző.
(6) Bármely képviselő javaslatot tehet valamely – a bizottság feladatkörébe tartozó – ügy megtárgyalására. A bizottság elnöke az indítványt a bizottság legközelebbi ülése elé terjeszti, amelyekre köteles meghívni az indítványozó képviselőt.
(7) A bizottság ülése nyilvános, azonban zárt ülést köteles tartani a képviselő-testületre vonatkozó szabályok szerint.
Ügyrendi Bizottság
37. § A bizottság:
a) elvégzi a polgármester és a képviselők által benyújtott vagyonnyilatkozat vizsgálatával, nyilvántartásával és ellenőrzésével kapcsolatos feladatokat;
b) lefolytatja a Magyarország helyi önkormányzatairól szóló 2011. évi CLXXXIX. törvény 37. §-ban meghatározott összeférhetetlenségi és 38. § (5) bekezdésében meghatározott méltatlansági eljárásokat;
c) lebonyolítja a képviselő-testület hatáskörébe tartozó választásokat.
Az önkormányzat költségvetése vagyona, az önkormányzati gazdálkodás
38. § (1) A képviselő-testület felhatalmazza a polgármestert, hogy az átmenetileg szabad pénzeszközök lekötéséről vagy befektetéséről 500.000 Ft értékhatárig a képviselő-testület folyamatos tájékoztatása mellett- saját hatáskörben döntsön.
(2) A polgármester saját hatáskörében az önkormányzat tulajdonát érintő ügyekben 500.000 Ft értékhatárig köthet szerződéseket, vállalhat kötelezettségeket, írhat alá megállapodásokat. Az általa kötött szerződések a képviselő-testület utólagos jóváhagyásával válnak érvényessé.
(3) A képviselő-testület felhatalmazza a polgármestert az önkormányzat bevételi és kiadásai előirányzatainak módosítására:
a) a működési és felhalmozási támogatások államháztartáson belülről, valamint a működési és felhalmozási célú átvett pénzeszközök rovatain tervezett eredeti előirányzaton felül a tárgyévben rendelkezésre bocsátott bevétel erejéig, illetve
b) a kiadási előirányzatok közötti átcsoportosításra.
A polgármester a bevételi és kiadási előirányzat módosításáról, az előirányzat átcsoportosításról a költségvetési rendelet soron következő módosítása alkalmával, de legkésőbb az éves költségvetési beszámoló elkészítésének határidejéig, december 31-ei hatállyal tájékoztatja a képviselő-testületet.
Záró, hatályba léptető rendelkezések
39. § (1) Ez a rendelet a kihirdetés napját követő napon lép hatályba.
(2) A rendelet hatálybalépésével egyidejűleg hatályát veszti az Önkormányzat Szervezeti és Működési Szabályzatáról szóló többször módosított 17/2014.(XI.14.) önkormányzati rendelet. 1. melléklet a 9/2019. (XI. 15.) önkormányzati rendelethez.
1. melléklet
a) Települési támogatás megállapítása
b) temetési támogatás megállapítása
c) köztemetés engedélyezése
d) szociális tűzifajuttatás megállapításáról
a) az önkormányzat átmenetileg szabad pénzeszközei lekötéséről vagy befektetéséről 500.000 Ft értékhatárig a képviselő-testület folyamatos tájékoztatása mellett,
b) az önkormányzat tulajdonát érintő ügyekben 500.000 Ft értékhatárig köthet szerződéseket, vállalhat kötelezettségeket, írhat alá megállapodásokat. Az általa kötött szerződések a képviselő-testület utólagos jóváhagyásával válnak érvényessé.
c) az önkormányzat bevételi és kiadásai előirányzatainak módosítására:
ca) a működési és felhalmozási támogatások államháztartáson belülről, valamint a működési és felhalmozási célú átvett pénzeszközök rovatain tervezett eredeti előirányzaton felül a tárgyévben rendelkezésre bocsátott bevétel erejéig, illetve
cb) a kiadási előirányzatok közötti átcsoportosításra.
d) A polgármester a bevételi és kiadási előirányzat módosításáról, az előirányzat átcsoportosításáról a költségvetési rendelet soron következő módosítása alkalmával, de legkésőbb az éves költségvetési beszámoló elkészítésének határidejéig, december 31-ei hatállyal tájékoztatja a képviselő-testületet.
1. függelék
2. Pápai Mátyás alpolgármester
3. Frand Dezsőné képviselő
4. Korom Lajos képviselő
5. Siket Sándor képviselő
2. függelék
1. Általános rendelkezések
1. §
1. A bélyegző használója, őrzője a használatért felelősséggel tartozik. Köteles gondoskodni arról, hogy illetéktelen személy a bélyegzőhöz ne férhessen hozzá, ennek érdekében a hivatali munkaidőn kívül a bélyegzőket zárható lemezszekrényben vagy irodai bútorzatban (szekrény,íróasztal, stb) kell őrizni. A bútorzat zárásáért a bélyegző használója felelős.
2. A Hivatal, illetve az önkormányzatok hivatalos működésével összefüggésben keletkező iratokon a
3. A bélyegzőt használó anyagi, fegyelmi, büntetőjogi felelősséggel tartozik a részére átadott bélyegző jogszerű használatáért, biztonságos őrzéséért.
2. A közös önkormányzati hivatal működése
2. §
3. A Kübekházi Közös Önkormányzati Hivatal főbb feladatai
3. §
4. A jegyzővel, aljegyzővel kapcsolatos általános rendelkezések
4. §
5. A jegyző, aljegyző főbb feladatai
5. §
6. A Kübekházi Közös Önkormányzati Hivatal szervezeti felépítése, létszáma
6. §
7. §

Kedd: 7.30 – 16.00
Szerda: 7.30 – 16.00
Csütörtök 7.30 – 16.00
Péntek: 7.30 – 13,30
7. A Kübekházi Közös Önkormányzati Hivatal köztisztviselői
8. §
(4) Kübekházi Közös Önkormányzati Hivatal munkaköri leírását az 1. sz. függelék tartalmazza.
9. §
Az útiszámlákat a jegyző, igazolása után lehet számfejteni.
8. Munkaértekezlet
10. §
9. Pénzügyi, számviteli rend
11. §
10. Belső kontrollrendszer
12. §
11. Belső ellenőrzés
13. §
12. Közös Önkormányzati Hivatal óvó, védő előírások
14. §
15. §
13. Ügyiratkezelés speciális szabályai
16. §
14. Kiadmányozás rendje
17. §
15. Helyettesítés rendje
18. §
16. Szabadság engedélyezése
19. §
17. Záró rendelkezések
20. §
Ferencszállás Község Önkormányzat Képviselő-testülete a 70/2014.(XII.03.) önkormányzati határozatával
Klárafalva Községi Önkormányzat Képviselő-testülete a 87/2014.(XII.02.) önkormányzati határozatával
Tiszasziget Község Önkormányzata Képviselő-testülete 121/2014.(XII.03.) önkormányzati határozatával
jóváhagyta.
3. függelék
Az 1. § (2) bekezdése a Klárafalva Község Önkormányzata Képviselő-testületének 14/2021. (XII. 27.) önkormányzati rendelete 1. §-ával megállapított szöveg.
Módosult a 11/2020. (XI.16.) önkormányzati rendelettel. Hatályos: 2020. november 17.
A 16. § a Klárafalva Község Önkormányzata Képviselő-testületének 5/2022. (III. 23.) önkormányzati rendelete 1. §-ával megállapított szöveg.
Módosította a 9/2020. (X.30.) önkormányzati rendelet. Hatályos 2020. október 31. napján. A 2. melléklet a Klárafalva Község Önkormányzata Képviselő-testületének 11/2021. (XI. 29.) önkormányzati rendelete 1. §-ával megállapított szöveg.